Montaż przęseł ogrodzeniowych to kluczowy krok w tworzeniu trwałego i estetycznego ogrodzenia. Proces ten wymaga staranności i odpowiednich materiałów, aby zapewnić stabilność oraz długowieczność konstrukcji. W artykule przedstawimy krok po kroku wszystkie etapy montażu, począwszy od wyboru materiałów, przez przygotowanie terenu, aż po finalizację ogrodzenia. Dzięki tym wskazówkom unikniesz najczęstszych błędów i stworzysz ogrodzenie, które będzie nie tylko funkcjonalne, ale także estetyczne.
W kolejnych częściach omówimy, jakie materiały są najlepsze do budowy przęseł, jakie narzędzia będą Ci potrzebne oraz jak prawidłowo osadzić słupki i zamontować panele. Zastosowanie się do przedstawionych wskazówek pozwoli Ci zaoszczędzić czas i pieniądze, a także cieszyć się pięknym ogrodzeniem przez wiele lat.
Kluczowe wnioski:
- Wybór odpowiednich materiałów, takich jak drewno, metal czy winyl, ma kluczowe znaczenie dla trwałości ogrodzenia.
- Przygotowanie terenu, w tym wyznaczenie linii ogrodzenia i wykopanie dołów pod słupki, jest niezbędnym krokiem przed montażem.
- Prawidłowe osadzenie słupków w ziemi lub betonie zapewnia stabilność całej konstrukcji.
- Użycie odpowiednich technik mocowania przęseł, takich jak obejmy i łączniki, wpływa na ich trwałość.
- Finalizacja montażu, w tym instalacja podmurówki i dodatkowych akcesoriów, poprawia zarówno wygląd, jak i funkcjonalność ogrodzenia.
Wybór odpowiednich materiałów do montażu przęsła ogrodzeniowego
Wybór odpowiednich materiałów do montażu przęsła ogrodzeniowego jest kluczowy dla zapewnienia trwałości i estetyki ogrodzenia. Wśród najczęściej stosowanych materiałów znajdują się drewno, metal oraz winyl. Każdy z tych materiałów ma swoje unikalne właściwości, które wpływają na ich zastosowanie w różnych warunkach. Drewno, na przykład, jest naturalnym materiałem, który dobrze komponuje się z otoczeniem, ale wymaga regularnej konserwacji. Metal jest trwały i odporny na warunki atmosferyczne, jednak może być podatny na korozję, jeśli nie jest odpowiednio zabezpieczony. Winyl natomiast jest łatwy w utrzymaniu i odporny na blaknięcie, co czyni go popularnym wyborem w nowoczesnych ogrodzeniach.
Oprócz materiałów, ważne jest również posiadanie odpowiednich narzędzi do montażu przęseł. Do skutecznego montażu będziesz potrzebować wiertarki, poziomicy, miary oraz łopaty. Wiertarka jest niezbędna do wiercenia otworów w słupkach, a poziomica pomoże upewnić się, że wszystkie elementy są równo osadzone. Miara jest kluczowa do dokładnego wyznaczania odległości między słupkami oraz długości przęseł. Łopata natomiast jest przydatna do wykopywania dołów pod słupki. Posiadanie tych narzędzi ułatwi cały proces montażu i zminimalizuje ryzyko popełnienia błędów.
Najlepsze materiały na przęsła ogrodzeniowe dla trwałości
Wybierając materiał na przęsła ogrodzeniowe, warto zwrócić uwagę na ich trwałość oraz odporność na czynniki zewnętrzne. Drewno, szczególnie gatunki takie jak cedr czy sosna, jest popularnym wyborem ze względu na swoją naturalną urodę, ale wymaga regularnego malowania i impregnacji, aby zapobiec gniciu i szkodnikom. Metal, zwłaszcza stal ocynkowana lub aluminium, oferuje długowieczność oraz odporność na warunki atmosferyczne, jednak wymaga odpowiedniego zabezpieczenia przed korozją. Winyl jest materiałem, który nie wymaga praktycznie żadnej konserwacji, a jego kolor nie blaknie, co sprawia, że jest idealnym wyborem dla osób poszukujących niskiego poziomu utrzymania.
Narzędzia niezbędne do skutecznego montażu przęseł
Do skutecznego montażu przęseł ogrodzeniowych potrzebujesz kilku kluczowych narzędzi. Wiertarka jest niezbędna do wiercenia otworów w słupkach, co ułatwia ich mocowanie. Poziomica zapewnia, że wszystkie elementy są idealnie równo osadzone, co jest kluczowe dla stabilności ogrodzenia. Miara pomoże dokładnie wyznaczyć odległości między słupkami, a także długość przęseł. Dodatkowo, łopata będzie przydatna do wykopywania dołów pod słupki, co jest niezbędnym krokiem w procesie montażu. Posiadanie tych narzędzi ułatwi pracę i przyspieszy cały proces budowy ogrodzenia.
| Materiał | Trwałość | Koszt | Konserwacja |
|---|---|---|---|
| Drewno | Średnia | Średni | Wysoka |
| Metal | Wysoka | Wysoki | Średnia |
| Winyl | Bardzo wysoka | Średni | Niska |
Krok po kroku: Przygotowanie terenu pod ogrodzenie
Przygotowanie terenu pod ogrodzenie to kluczowy krok przed jego montażem. Właściwe oznaczenie linii ogrodzenia oraz przygotowanie gruntu zapewni, że montaż przęsła ogrodzeniowego przebiegnie sprawnie i bezproblemowo. Rozpocznij od wyznaczenia linii, gdzie ma stanąć ogrodzenie, co pozwoli uniknąć błędów w dalszych etapach. Użyj do tego sznurków oraz kołków, aby dokładnie oznaczyć granice i miejsca dla słupków. Pamiętaj, aby zachować odpowiednie odległości między słupkami, co jest kluczowe dla stabilności całej konstrukcji.
Po wyznaczeniu linii przystąp do wykopania dołów pod słupki. Dobrze jest użyć łopaty lub wiertnicy, aby wykopać doły o odpowiedniej głębokości i szerokości. Zazwyczaj doły powinny mieć głębokość około 60-90 cm, w zależności od wysokości ogrodzenia oraz rodzaju gleby. Upewnij się, że doły są odpowiednio rozmieszczone, aby nie były zbyt blisko siebie, co może osłabić konstrukcję. Pamiętaj, aby oczyścić teren z zanieczyszczeń, takich jak kamienie czy korzenie, co ułatwi dalszy montaż.
Jak wyznaczyć linię ogrodzenia na działce
Aby dokładnie wyznaczyć linię ogrodzenia, użyj kołków i sznurka. Wbij kołki w ziemię na początku i końcu planowanej linii ogrodzenia, a następnie rozciągnij między nimi sznurek. Umożliwi to uzyskanie prostoliniowej granicy, co jest kluczowe dla estetyki i funkcjonalności ogrodzenia. W przypadku bardziej skomplikowanych kształtów, takich jak narożniki, warto zastosować dodatkowe kołki, aby precyzyjnie wyznaczyć kierunek ogrodzenia. Upewnij się, że wszystkie kołki są stabilne i dobrze wbite w ziemię, co pozwoli uniknąć przesunięć podczas dalszych prac.
Wykopanie dołów pod słupki: techniki i porady
Wykopanie dołów pod słupki to kluczowy etap w przygotowaniu terenu. Możesz użyć łopaty lub wiertnicy, aby uzyskać doły o odpowiedniej głębokości. Zazwyczaj doły powinny mieć głębokość około 60-90 cm, aby zapewnić stabilność słupków. Pamiętaj o zachowaniu odpowiednich odstępów między dołami, które powinny wynosić około 2-3 metry, w zależności od długości przęseł. W przypadku twardej gleby, rozważ użycie młota, aby ułatwić wykopanie dołów. Upewnij się, że doły są proste i równe, co pozwoli na łatwiejsze osadzenie słupków w późniejszym etapie.
- Kołki i sznurek do wyznaczania linii ogrodzenia
- Łopata lub wiertnica do wykopania dołów pod słupki
- Młot do ułatwienia pracy w twardej glebie
Czytaj więcej: Jak zamontować okap kominowy - proste kroki, które ułatwią instalację
Montaż słupków: klucz do stabilności ogrodzenia
Instalacja słupków jest kluczowym etapem, który zapewnia stabilność całego ogrodzenia. Słupki można osadzić zarówno w ziemi, jak i w betonie, w zależności od warunków gruntowych oraz preferencji. Przy osadzaniu słupków w ziemi należy wykopać doły o odpowiedniej głębokości, zazwyczaj od 60 do 90 cm, aby zapewnić odpowiednią stabilność. W przypadku osadzania w betonie, przygotuj mieszankę betonową, która zapewni dodatkowe wsparcie i trwałość.
Ważne jest, aby słupki były prawidłowo wypoziomowane. Użyj poziomicy, aby upewnić się, że każdy słupek jest prosty i w odpowiedniej linii. Należy także pamiętać o zachowaniu odpowiednich odstępów między słupkami, aby ogrodzenie wyglądało estetycznie i było funkcjonalne. W kolejnej sekcji przedstawimy szczegółowe metody osadzania słupków oraz techniki poziomowania, które pomogą w osiągnięciu idealnego efektu.
Jak prawidłowo osadzić słupki w ziemi lub betonie
Aby prawidłowo osadzić słupki, najpierw przygotuj doły o głębokości co najmniej 60 cm. Jeśli osadzasz słupki w ziemi, umieść je w dołach i upewnij się, że są proste. Możesz użyć poziomicy, aby to sprawdzić. W przypadku osadzania w betonie, wlej przygotowaną mieszankę do dołków i umieść słupki w odpowiedniej pozycji. Upewnij się, że beton otacza słupek z każdej strony, co zapewni jego stabilność. Pozwól betonowi stwardnieć przez co najmniej 24 godziny przed przystąpieniem do dalszych prac.
Wskazówki dotyczące poziomowania słupków dla idealnej linii
Poziomowanie słupków jest kluczowe dla estetyki i funkcjonalności ogrodzenia. Użyj poziomicy, aby upewnić się, że każdy słupek jest idealnie prosty. Jeśli zauważysz, że słupek jest przechylony, delikatnie go dostosuj, dodając lub usuwając ziemię lub beton. Pamiętaj, aby sprawdzić poziom każdego słupka po ich osadzeniu, aby uniknąć problemów w późniejszych etapach montażu przęseł. Utrzymanie równych odstępów między słupkami również wpływa na ogólny wygląd ogrodzenia.
| Typ ogrodzenia | Zalecana odległość między słupkami |
|---|---|
| Ogrodzenie drewniane | 2,5 - 3 metry |
| Ogrodzenie metalowe | 2 - 2,5 metra |
| Ogrodzenie winylowe | 2 - 3 metry |
Montaż przęseł: techniki, które zapewnią trwałość
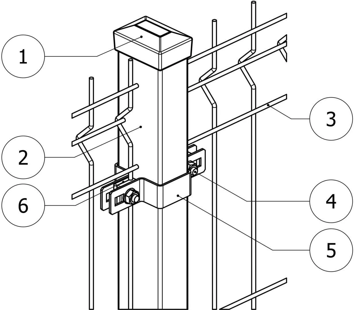
Przy montażu przęseł ogrodzeniowych kluczowe jest zastosowanie odpowiednich technik, które zapewnią ich trwałość. Do mocowania przęseł do słupków najczęściej używa się obowiązujących łączników oraz śrub. W przypadku ogrodzeń drewnianych, możesz zastosować metalowe obejmy, które stabilnie trzymają panel na miejscu. W przypadku ogrodzeń metalowych, użycie specjalnych klamer i śrub nierdzewnych jest niezbędne, aby zapobiec korozji i zapewnić długotrwałą trwałość. Pamiętaj, aby zawsze stosować się do instrukcji producenta, co pomoże uniknąć problemów w przyszłości.
Podczas mocowania przęseł ważne jest również, aby nie przeciążać łączników. Zbyt duża siła może prowadzić do uszkodzenia paneli lub ich odkształcenia. Upewnij się, że wszystkie śruby są dobrze dokręcone, ale nie na tyle mocno, aby uszkodzić materiał. Jeśli przęsła są zbyt długie, a ich długość nie pasuje do dostępnej przestrzeni, rozważ ich skrócenie, ale pamiętaj, aby zabezpieczyć miejsca cięcia przed korozją. Właściwe mocowanie przęseł nie tylko wpłynie na ich trwałość, ale również na estetykę całego ogrodzenia.
Jak używać obejm i łączników do mocowania przęseł
Aby prawidłowo użyć obejm i łączników do mocowania przęseł, zacznij od umieszczenia panelu w odpowiedniej pozycji. Następnie przyłóż obejmę do słupka i przęsła, upewniając się, że jest równo ustawiona. Użyj śrub nierdzewnych, aby przymocować obejmę do słupka, pamiętając o tym, aby nie przekręcić śrub zbyt mocno. W przypadku ogrodzeń narożnych, zastosuj specjalne obejmy narożne, które pomogą w stabilnym połączeniu paneli. Upewnij się, że wszystkie elementy są dobrze dokręcone, co zapewni bezpieczeństwo i trwałość ogrodzenia.
Jak uniknąć najczęstszych błędów podczas montażu
Podczas montażu przęseł istnieje kilka typowych błędów, które warto unikać. Po pierwsze, nie zapominaj o zachowaniu odpowiednich odstępów między słupkami, co może prowadzić do niestabilności ogrodzenia. Po drugie, upewnij się, że używasz odpowiednich narzędzi i materiałów zgodnie z instrukcją producenta. Często popełnianym błędem jest także zbyt mocne dokręcanie śrub, co może prowadzić do uszkodzenia materiału. Regularnie sprawdzaj, czy przęsła są odpowiednio zamocowane, aby uniknąć problemów w przyszłości.

Finalizacja montażu: dodatkowe elementy ogrodzenia
Po zakończeniu montażu przęseł ogrodzeniowych warto zadbać o dodatkowe elementy, które poprawią zarówno wygląd, jak i stabilność ogrodzenia. Instalacja podmurówki to jeden z kluczowych kroków, który może znacząco wpłynąć na trwałość całej konstrukcji. Podmurówka nie tylko stabilizuje słupki, ale także chroni je przed działaniem wilgoci i erozją gleby. Aby ją zainstalować, należy wykopać rowek wzdłuż ogrodzenia, a następnie wypełnić go betonem lub innym materiałem, który zapewni solidną podstawę. Upewnij się, że podmurówka jest równo osadzona, co ułatwi dalsze prace i zapewni estetyczny wygląd.
Dodatkowe elementy dekoracyjne, takie jak daszki na słupkach, mogą również wzbogacić wygląd ogrodzenia. Daszki nie tylko dodają charakteru, ale także chronią górne części słupków przed deszczem i słońcem, co wydłuża ich żywotność. Możesz również rozważyć instalację różnych akcesoriów, takich jak lampy ogrodowe, które oświetlą przestrzeń wokół ogrodzenia, czy ozdobne panele, które nadadzą mu indywidualny styl. Warto zainwestować w te detale, aby ogrodzenie nie tylko spełniało swoją funkcję, ale także stało się atrakcyjnym elementem Twojego ogrodu.
Instalacja podmurówki: jak poprawić wygląd i stabilność
Aby zainstalować podmurówkę, najpierw wykop rowek o głębokości około 30 cm wzdłuż linii ogrodzenia. Upewnij się, że rowek jest prosty i równy, co ułatwi dalszą pracę. Następnie przygotuj mieszankę betonową i wlej ją do wykopanego rowka, umieszczając w niej słupki, jeśli jeszcze tego nie zrobiłeś. Zadbaj, aby beton był równomiernie rozłożony wokół słupków. Pozwól betonowi stwardnieć przez co najmniej 24 godziny, zanim przystąpisz do dalszych prac. Taka podmurówka nie tylko zwiększy stabilność ogrodzenia, ale również nada mu estetyczny wygląd.
Dodatkowe akcesoria: daszki i inne elementy dekoracyjne
Wybór dodatkowych akcesoriów, takich jak daszki na słupkach, może znacząco wpłynąć na wygląd ogrodzenia. Daszki dostępne są w różnych stylach i kolorach, co pozwala dostosować je do charakteru ogrodu. Możesz również rozważyć instalację ozdobnych paneli, które dodadzą oryginalności lub lamp, które oświetlą przestrzeń wokół ogrodzenia. Dodatkowe akcesoria nie tylko upiększają ogrodzenie, ale także mogą zwiększyć jego funkcjonalność, np. poprzez oświetlenie. Warto zainwestować w te detale, aby stworzyć spójną i estetyczną przestrzeń.
- Daszki na słupkach dla ochrony i estetyki
- Ozdobne panele, które nadają charakteru
- Lampy ogrodowe do oświetlenia przestrzeni
Jak dbać o ogrodzenie, aby służyło przez lata
Po zakończeniu montażu ogrodzenia, kluczowe jest, aby regularnie je konserwować, co zapewni jego długowieczność. Oprócz instalacji podmurówki i dodatkowych akcesoriów, warto zainwestować w odpowiednie preparaty ochronne. Na przykład, impregnacja drewna co kilka lat pomoże zabezpieczyć je przed wilgocią, grzybami oraz insektami. W przypadku ogrodzeń metalowych, regularne sprawdzanie i usuwanie rdzy, a także nałożenie farby antykorozyjnej, zapewni ich estetykę i trwałość przez długie lata.
Warto również rozważyć zastosowanie systemów monitoringu wokół ogrodzenia, które mogą pomóc w ochronie posesji. Nowoczesne technologie, takie jak kamery z funkcją detekcji ruchu czy czujniki, mogą zwiększyć bezpieczeństwo Twojego ogrodu. Dodatkowo, zastosowanie roślinności, takiej jak żywopłoty, nie tylko podnosi estetykę, ale również stanowi naturalną barierę, która może chronić ogrodzenie przed wiatrem i innymi czynnikami atmosferycznymi. Inwestycja w te aspekty nie tylko zwiększy trwałość ogrodzenia, ale również sprawi, że będzie ono bardziej funkcjonalne i atrakcyjne wizualnie.
