Montaż klamki do drzwi to zadanie, które można z powodzeniem wykonać samodzielnie, o ile posiadamy odpowiednie narzędzia oraz podstawową wiedzę na temat tego procesu. Właściwe przygotowanie to klucz do sukcesu – przed przystąpieniem do pracy warto upewnić się, że otwory w drzwiach są odpowiednio dostosowane do wybranego modelu klamki. Dobrze dobrana klamka nie tylko zapewnia funkcjonalność, ale również wpływa na estetykę drzwi, dlatego warto poświęcić chwilę na jej odpowiedni wybór.
W artykule przedstawimy proste kroki, które pomogą uniknąć błędów podczas montażu klamki. Zaczniemy od omówienia niezbędnych narzędzi, a następnie przejdziemy do przygotowania drzwi oraz kroków montażowych. Na koniec poruszymy najczęstsze problemy, które mogą wystąpić podczas instalacji oraz sposoby ich rozwiązania. Dzięki tym wskazówkom montaż klamki stanie się prostszy i bardziej efektywny.
Najistotniejsze informacje:
- Do montażu klamki potrzebne są podstawowe narzędzia, takie jak śrubokręt, wiertarka i miarka.
- Przed montażem należy sprawdzić, czy otwory w drzwiach są odpowiednio przygotowane i zgodne z rozstawem zamka.
- Krok po kroku, należy zainstalować mechanizm zamka, a następnie klamkę, zwracając uwagę na dokładne dokręcenie elementów.
- W przypadku problemów, takich jak luźne elementy klamki, istnieją proste sposoby na ich naprawę.
- Na koniec warto zabezpieczyć elementy klamki za pomocą zaślepek oraz naoliwić mechanizm, co zapewni jego długotrwałe i płynne działanie.
Wybór odpowiednich narzędzi do montażu klamek do drzwi dla łatwego procesu
Aby montaż klamki do drzwi przebiegł sprawnie, niezbędne są odpowiednie narzędzia. Kluczowe narzędzia to śrubokręt, wiertarka, miarka, znacznik, poziomica oraz klucz imbusowy. Każde z nich odgrywa istotną rolę w procesie instalacji. Posiadanie właściwych narzędzi nie tylko ułatwia pracę, ale także zmniejsza ryzyko popełnienia błędów, które mogą wpłynąć na funkcjonalność klamki.
Wybierając narzędzia, warto zwrócić uwagę na ich jakość. Na przykład, wiertarka Bosch GSB 13 RE jest znana z niezawodności i wydajności, co czyni ją idealnym wyborem do wiercenia otworów w drzwiach. Wkrętak Philips 123 to kolejny przykład narzędzia, które ułatwia dokręcanie śrub, zapewniając pewne i trwałe mocowanie klamki.
Jakie narzędzia są niezbędne do montażu klamek?
Podstawowe narzędzia do montażu klamek to przede wszystkim śrubokręt oraz wiertarka. Śrubokręt jest kluczowy do dokręcania śrub mocujących klamkę oraz szyldów. Wiertarka natomiast pozwala na precyzyjne wiercenie otworów, co jest niezbędne do prawidłowego zamontowania mechanizmu zamka. Miarka oraz poziomica są równie ważne, ponieważ umożliwiają dokładne pomiary oraz zapewniają, że klamka jest zamontowana w odpowiedniej pozycji.
Dlaczego warto mieć pod ręką dodatkowe akcesoria?
Dodatkowe akcesoria, takie jak znacznik czy taśma miernicza, mogą znacznie ułatwić proces montażu. Znacznik pozwala na precyzyjne oznaczenie miejsc, w których mają być wykonane otwory, co minimalizuje ryzyko błędów. Taśma miernicza natomiast jest nieoceniona przy sprawdzaniu odległości i rozstawu klamki oraz zamka, co jest kluczowe dla ich prawidłowego działania. Warto zainwestować w te akcesoria, aby montaż klamek był szybki i bezproblemowy.
Przygotowanie drzwi do montażu klamki dla skutecznego działania
Przygotowanie drzwi do montażu klamki to kluczowy etap, który zapewnia, że cały proces przebiegnie sprawnie. Sprawdzenie otworów w drzwiach jest pierwszym krokiem, który należy wykonać. Upewnij się, że otwory są odpowiedniej wielkości i umiejscowione w odpowiednich miejscach. Dobrze jest również zweryfikować, czy są one prostopadłe do powierzchni drzwi. Niezgodność rozmiarów otworów może prowadzić do problemów z montażem klamki, co w przyszłości może wpłynąć na jej funkcjonalność.
Po sprawdzeniu otworów, należy skupić się na wyrównaniu klamki z zamkiem. Upewnij się, że odległości między otworami są zgodne z rozstawem zamka, co jest kluczowe dla prawidłowego działania klamki. Warto użyć poziomicy, aby upewnić się, że klamka będzie zamontowana w idealnej pozycji. Dobre wyrównanie zapewni nie tylko lepszą estetykę, ale również funkcjonalność klamki, co jest niezbędne dla jej długotrwałego użytkowania.
Jak sprawdzić otwory w drzwiach przed montażem?
Sprawdzanie otworów w drzwiach przed montażem klamki jest niezbędnym krokiem, który pozwala uniknąć późniejszych problemów. Użyj miarki, aby dokładnie zmierzyć średnicę otworów oraz ich głębokość. Warto również sprawdzić, czy otwory są umiejscowione w odpowiednich miejscach, co można zrobić przy pomocy poziomicy. Jeśli otwory są zbyt małe lub zbyt duże, może być konieczne ich powiększenie lub zmiana ich lokalizacji. Upewnij się, że otwory są czyste i wolne od zanieczyszczeń, co umożliwi prawidłowy montaż klamki.
Co zrobić, aby rozstaw klamki był zgodny z zamkiem?
Aby rozstaw klamki był zgodny z zamkiem, należy dokładnie zmierzyć odległości między otworami. Użyj miarki, aby sprawdzić, czy otwory w drzwiach odpowiadają specyfikacjom zamka. Ważne jest, aby zmierzyć zarówno odległość poziomą, jak i pionową, aby zapewnić idealne dopasowanie. Jeśli rozstaw klamki nie jest zgodny z zamkiem, może to prowadzić do problemów z jej funkcjonowaniem, a także do uszkodzenia materiału drzwi.
Po dokonaniu pomiarów, upewnij się, że otwory są odpowiednio oznaczone. Możesz użyć znacznika do zaznaczenia miejsc, w których będą umieszczone śruby mocujące. Jeśli okaże się, że rozstaw nie jest idealny, możesz potrzebować dostosować otwory, co może wymagać użycia wiertarki lub innego narzędzia. Pamiętaj, aby zawsze sprawdzić, czy klamka działa płynnie po zakończeniu montażu, co potwierdzi, że rozstaw był prawidłowy.
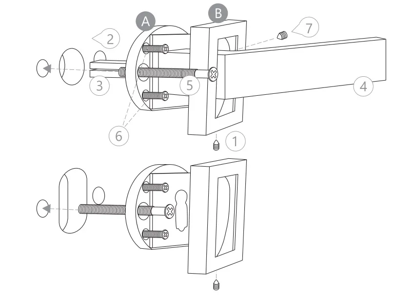
Jak poprawnie zainstalować mechanizm zamka i klamkę?
Aby poprawnie zainstalować mechanizm zamka i klamkę, zacznij od umieszczenia trzpienia kwadratowego w otworze zamka. Upewnij się, że jego rozcięcie znajduje się od strony, gdzie będą mocowane śruby imbusowe. Następnie, na trzpień nałóż szyldy, a następnie klamkę. Użyj śrub przelotowych do mocowania szyldów, dbając, aby były dobrze dokręcone, ale nie na tyle mocno, aby uszkodzić materiał drzwi. Po zamontowaniu klamki, sprawdź, czy wszystko jest odpowiednio dopasowane, a mechanizm działa płynnie.
W przypadku klamek z rozetą, najpierw zamontuj rozetę, upewniając się, że jest na równym poziomie, a następnie przykręć klamkę do niej. Zwróć uwagę na to, aby klamka była zamontowana w odpowiedniej pozycji, co zapewni jej prawidłowe działanie. Po zakończeniu montażu, przetestuj klamkę, aby upewnić się, że działa bez oporu i jest stabilna. Dobrze wykonany montaż zapewni nie tylko estetykę, ale również funkcjonalność przez długi czas.
Jakie są kluczowe wskazówki przy dokręcaniu klamki?
Podczas dokręcania klamki, kluczowe jest, aby robić to równomiernie i z wyczuciem. Zbyt mocne dokręcenie może prowadzić do uszkodzenia klamki lub drzwi, dlatego warto użyć klucza imbusowego z odpowiednią siłą. Zaczynaj od dokręcania dolnej śruby, a następnie przejdź do górnej, co pozwoli na równomierne rozłożenie napięcia. Upewnij się, że klamka jest na swoim miejscu i nie ma luzów, co jest istotne dla jej prawidłowego działania.
Warto również sprawdzić, czy klamka działa płynnie po dokręceniu śrub. Jeśli zauważysz jakiekolwiek opory, może to oznaczać, że klamka jest źle zamontowana lub dokręcona. W takich przypadkach, delikatne poluzowanie śrub może pomóc w uzyskaniu lepszej funkcjonalności. Pamiętaj, aby po zakończeniu montażu zabezpieczyć śruby zaślepkami maskującymi, co poprawi estetykę całej instalacji.
Czytaj więcej: Jak zamontować półkę bez widocznych mocowań i uniknąć problemów z estetyką

Problemy i ich rozwiązania podczas montażu klamki do drzwi
Podczas montażu klamki mogą wystąpić różne problemy, które warto znać i umieć rozwiązać. Jednym z najczęstszych problemów są luźne elementy klamki, które mogą wpływać na jej funkcjonalność oraz estetykę. Jeśli klamka nie jest odpowiednio dokręcona, może się poruszać lub nawet odpaść. Ważne jest, aby regularnie sprawdzać wszystkie mocowania i dokręcać je w razie potrzeby. W przypadku zauważenia luzu, najlepiej jest delikatnie dokręcić śruby, aby zapewnić stabilność klamki.
Innym problemem może być niesprawne działanie klamki, co może być spowodowane różnymi czynnikami, takimi jak niewłaściwe ustawienie lub zanieczyszczenia w mechanizmie. Jeżeli klamka nie działa płynnie, warto sprawdzić, czy nie ma przeszkód w jej ruchu. Często wystarczy oczyścić mechanizm i naoliwić ruchome części, co znacząco poprawi jej działanie. Dobrze jest również zwrócić uwagę na to, czy klamka jest prawidłowo zamontowana i czy wszystkie elementy są dobrze dopasowane, aby uniknąć dalszych problemów.
Jak radzić sobie z luźnymi elementami klamki?
Aby radzić sobie z luźnymi elementami klamki, należy regularnie sprawdzać, czy wszystkie śruby są odpowiednio dokręcone. Jeśli zauważysz, że klamka się porusza, użyj klucza imbusowego do dokręcenia śrub mocujących. Klucz imbusowy powinien być dobrze dopasowany do śrub, aby uniknąć ich uszkodzenia. W przypadku, gdy dokręcenie nie rozwiązuje problemu, sprawdź, czy nie brakuje jakiegoś elementu lub czy nie doszło do uszkodzenia klamki. Pamiętaj, aby nie dokręcać zbyt mocno, ponieważ może to prowadzić do uszkodzenia materiału drzwi.
Co zrobić, gdy klamka nie działa płynnie?
Jeśli klamka nie działa płynnie, warto najpierw sprawdzić, czy nie ma zanieczyszczeń w mechanizmie. Użyj sprężonego powietrza lub delikatnej szmatki, aby usunąć wszelkie zanieczyszczenia. Następnie, nałóż kilka kropel oleju maszynowego na ruchome części klamki, co powinno poprawić jej działanie. Upewnij się, że klamka jest prawidłowo zamontowana, a wszystkie elementy są dobrze dopasowane. Jeśli problem nadal występuje, może być konieczne rozebranie klamki i sprawdzenie, czy nie ma uszkodzonych części, które wymagają wymiany.
Jak dbać o klamki, aby służyły przez lata?
Aby klamki do drzwi zachowały swoją funkcjonalność i estetykę przez wiele lat, warto wdrożyć kilka prostych, ale skutecznych praktyk konserwacyjnych. Regularne czyszczenie klamek z zanieczyszczeń oraz osadów jest kluczowe. Użyj delikatnych detergentów i miękkiej ściereczki, aby uniknąć zarysowań. Dodatkowo, lubrykanty na bazie oleju mogą być stosowane co kilka miesięcy, aby zapewnić płynne działanie mechanizmu klamki, co również zapobiega jej zacinaniu się.
Warto również rozważyć zastosowanie ochronnych powłok na zewnętrznych klamkach, szczególnie w przypadku drzwi narażonych na działanie warunków atmosferycznych. Powłoki te mogą zapobiegać korozji oraz blaknięciu kolorów, co znacząco przedłuży żywotność klamek. W miarę jak technologia się rozwija, na rynku pojawiają się również nowoczesne klamki z materiałów odpornych na zarysowania oraz działanie promieni UV, co może być interesującą opcją dla osób poszukujących trwałych rozwiązań.
